|    |  ||||||||
| game | ||||||||
| NIEUWS | ||||||||
  
     Whizzkid combineert Game Boy en gitaar      video Een handige jongen heeft een kruising gemaakt tussen een elektrische gitaar en een Game Boy. Het resultaat is de Guitar Boy, een volledig ...  
  |  ||||||||
  
     Downton Abbey-acteur toegevoegd aan cast Game of Thrones      28 minuten geleden Films & Series Downton Abbey-acteur toegevoegd aan cast Game of Thrones Downton Abbey-acteur James Faulkner heeft een ...  
  |  ||||||||
  
     Rock on! Hobbyist bouwt Game Boy-gitaar      Wat doe je als je gitarist bent en ook wel eens van een spelletje houdt? Nou, dan zou je een Game Boy-gitaar kunnen bouwen. En dat is exact wat ...  
  |  ||||||||
  
     4 nieuwe Android-games in de Google Play Store week 38      Elke week komen er ladingen met nieuwe games in de Play Store. Om er voor te zorgen dat jullie de tofste games kunnen spelen, zetten wij de vier ...  
  |  ||||||||
  
     Tv-serie Downton Abbey naar mobiele game      Activision brengt Downton Abbey: Mysteries of the Manor uit, een gratis puzzelgame voor Apple, Android, en Kindle Fire. Het spel is gebaseerd op de ...  
  |  ||||||||
  
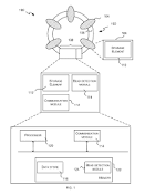
     Now ReadingMicrosoft vraagt patent aan voor draagbare game      Dit betekent dat de kraaltjes met elkaar in contact staan om vervolgens iets op jouw tv te projecteren, oftewel een game mee te spelen. Op de foto ...  
  |  ||||||||
  
     5 redenen waarom games nog niet écht realistisch zijn      Games lijken al bijna op films, maar af en toe zie je iets dat de betovering verbreekt. Waar zitten de bottlenecks? In de nieuwe NBA 2K16-game doet ...  
  |  ||||||||
  
     De Tokyo Game Show leert ons een hoop over Final Fantasy XV      Wat de E3 voor Amerika en Gamescom voor Europa is, dat is de Tokyo Game Show voor Japan. Op deze beurs ligt de nadruk echter op andere ...  
  |  ||||||||
|        Fable Legends tóch niet de eerste game met DirectX12-ondersteuning?      Tot nu toe werd Fable Legends geadverteerd als de eerste game die DirectX12 zou ondersteunen. Daar komt nu verandering in, want vandaag is het ...  
  |  ||||||||
  
     Samengevoegde Bloodborne-DLC is laatste voor game      De downloadable content (DLC) The Old Hunters voor Bloodborne wordt voorlopig de laatste uitbreiding voor de game. Aanvankelijk waren er twee ...  
  |  ||||||||
| WEB | ||||||||
|        Sorry, de pagina die u zoekt, bestaat niet.      Sorry, de pagina die u zoekt, bestaat niet. logo pxl. © Hogeschool PXL. Elfde-Liniestraat 24. B-3500 HASSELT. tel. +32 11 77 55 55. pxl@pxl.be.  
  |  ||||||||
|        Best Candy Friends Best Candy Friends neemt je mee in de wereld van de heerlijke snoep      Speel het leukste Best Candy Friends spel gratis op Hyves games! Best Candy Friends neemt je mee in de wereld van de heerlijke snoep en ...  
  |  ||||||||
|        2020      Speel het leukste 2020 spel gratis op Hyves games! 2020 is een uitdagende puzzelspel met gameplay die een beetje op Tetris lijkt.  
  |  ||||||||
|        Road Crossing      Speel het leukste Road Crossing spel gratis op Hyves games! Road Crossing is een gratis online spel dat gebaseerd is op de gameplay van de ...  
  |  ||||||||
|        Game boy color      Game boy color aangeboden in Nintendo Games en Computers & Telecom op Koopplein.nl Texel, de gratis marktplaats.  
  |  ||||||||
|        Role Playing Game (Rpg)      Vind Nieuw | Role Playing Game (Rpg) tegen een aantrekkelijke prijs op Marktplaats.nl. Voor iedereen een voordeel.  
  |  ||||||||
|        Game consoles      BESLIST.nl | Vergelijk 1 game consoles zoals een Nintendo DS, Sony PSP of andere consoles. Bestel direct online voor de laagste prijs!  
  |  ||||||||
|        Satta bazar up game      Satta bazar up game.  
  |  ||||||||
| Meer zoekresultaten bekijken | Deze melding bewerken | ||||||||
| U ontvangt deze e-mail omdat u zich heeft aangemeld voor Google Alerts. | 
    Deze melding als RSS-feed ontvangen   |  
|    Feedback verzenden    |  
 
Geen opmerkingen:
Een reactie posten